详细介绍
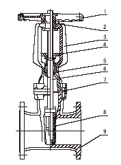
软密封闸阀产品概述 软密封闸阀主要零部件材料
软密封闸阀主要技术参数公称压力:1.0~2.5MPa 软密封闸阀主要外形连接尺寸
产品尺寸
|
温馨提示:“软密封闸阀”所有文字、数据、图片均只适用于参考。
如需与实物相吻合的性能参数、结构尺寸参数等详情请来电来函索取。
电话:021-68103333 传真:021-51686322
如需与实物相吻合的性能参数、结构尺寸参数等详情请来电来函索取。
电话:021-68103333 传真:021-51686322

软密封闸阀产品概述 软密封闸阀主要零部件材料
软密封闸阀主要技术参数公称压力:1.0~2.5MPa 软密封闸阀主要外形连接尺寸
产品尺寸
|

输入手机或固定电话号码,点击“免费咨询”按钮后,
我们的服务人员会在15秒内回拨您。